MB/8 Club Poland - Klub i forum miłośników samochodów Mercedes-Benz

Forum dyskusyjne klubu właścicieli i miłośników samochodów marki Mercedes-Benz
Dzisiaj jest pt mar 13, 2026 12:07 am

Strefa czasowa UTC+01:00




Nowy temat  Odpowiedz w temacie  [ Posty: 9 ] 
Autor Wiadomość
Post: śr wrz 28, 2016 9:28 pm 
Offline
postmajtek

Rejestracja: ndz wrz 18, 2016 8:25 pm
Posty: 31
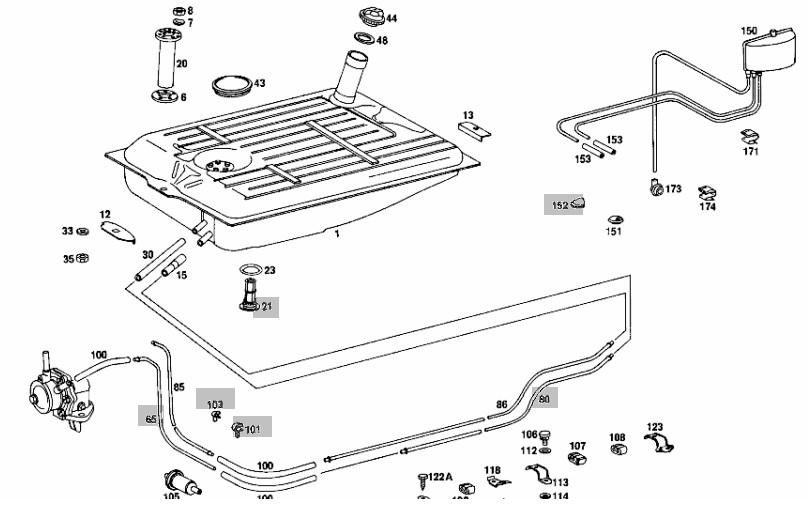
Witam, proszę o pomoc. Rozkładam moje w114 do piaskowania i a lubię wiedzieć co do czego służy. Po otwarciu bagażnika po prawej stronie w rogu nad tylnym światłem jest jakaś puszka plastikowa do której dochodzą 3 rurki, wie może ktoś co to jest? Druga rzecz która też nie daje mi spać znajduje się również w bagażniku, również z prawej strony ale zaraz koło sprężyny. Jest dziura w do której wywnioskowalem że wkłada się taki klucz i kręce tylko za bardzo nie wiem po co;) Bardzo proszę o pomoc.


Na górę
Post: czw wrz 29, 2016 9:02 am 
Offline
wiarus senior
Awatar użytkownika

Rejestracja: pn paź 28, 2002 7:43 pm
Posty: 1054
Numer GG: 3764542
Lokalizacja: Wrocław
150 ?

A szyberdach masz?


Załączniki:
114115.jpg
114115.jpg [ 88.37 KiB | Przejrzano 8120 razy ]

_________________
ex/8 74'
Na górę
Post: czw wrz 29, 2016 12:25 pm 
Offline
postmajtek

Rejestracja: ndz wrz 18, 2016 8:25 pm
Posty: 31
Dokładnie. Część 150. Mam szyberdach, faktycznie się otworzył:p Wybaczcie dopiero się go uczę.


Na górę
Post: czw wrz 29, 2016 8:32 pm 
Offline
wiarus senior
Awatar użytkownika

Rejestracja: pn paź 28, 2002 7:43 pm
Posty: 1054
Numer GG: 3764542
Lokalizacja: Wrocław
Element 173 znajdziesz w okolicy zderzaka na rogu, prawa strona. Leć, poszukaj i daj znać czy znalazłeś. Domyślasz się już do czego ta cała magiczna instalacja? [cool]

_________________
ex/8 74'


Na górę
Post: czw wrz 29, 2016 9:18 pm 
Offline
postmajtek

Rejestracja: ndz wrz 18, 2016 8:25 pm
Posty: 31
To kręcenie już wiem że do awaryjnego otwierania dachu;) Ta pucha plastikowa do odpowietrzenia baku ?:p Wychodzi ta 3 rurka niby wchodzi w podłogę ale została wyrwana i luźno lata. A tak z innej paki, dzisiaj "odkryłem" znowu jakieś czarne okrągłe przyciski na boczkach tylnych. Do nich wpięte są jakieś niebieskie rurki, schodzą się w jedną i wchodzi do komory silnika iiiiii... oczywiście nigdzie nie wpięte:p


Na górę
Post: sob paź 01, 2016 5:16 pm 
Offline
weteran
Awatar użytkownika

Rejestracja: pn cze 25, 2007 3:08 pm
Posty: 2149
Numer GG: 309237
Lokalizacja: Warszawa
Wszystko wskazuje, ze odkryłeś centralny zamek :)

_________________
V-ce Prezes MB/8 Club Poland
560SL, 560SEC, 280SEL 4.5, s115, 230C,W123 300usa, C111 5.0 puzzle, 1502, 635CSi, 840Ci, 911 3.0SC targa, XJS 4.0


Na górę
Post: pn paź 03, 2016 3:51 pm 
Offline
postmajtek

Rejestracja: ndz wrz 18, 2016 8:25 pm
Posty: 31
Wiem że całkiem możliwe że jestem kompletnym idiotą ale niestety nie wiem po co cały ten system. Wszystko ok gdyby było to gdzieś wpięte.


Załączniki:
cotojest.jpg
cotojest.jpg [ 19.34 KiB | Przejrzano 8000 razy ]
Na górę
Post: śr paź 05, 2016 9:35 pm 
Offline
nowy

Rejestracja: pn gru 21, 2015 10:58 pm
Posty: 1
Okrągłe przyciski na prawymi lewym słupku służą do złożenia oparcia fotela na odpalonym silniku.


Na górę
Post: pt paź 07, 2016 1:31 pm 
Offline
postmajtek

Rejestracja: ndz wrz 18, 2016 8:25 pm
Posty: 31
Dziękuję. zawsze to już jakąś informacja:) Muszę jeszcze ogarnąć jak to jeszcze ma działać;)


Na górę
Wyświetl posty nie starsze niż:  Sortuj wg  
Nowy temat  Odpowiedz w temacie  [ Posty: 9 ] 

Strefa czasowa UTC+01:00


Kto jest online

Użytkownicy przeglądający to forum: Obecnie na forum nie ma żadnego zarejestrowanego użytkownika i 7 gości


Nie możesz tworzyć nowych tematów
Nie możesz odpowiadać w tematach
Nie możesz zmieniać swoich postów
Nie możesz usuwać swoich postów
Nie możesz dodawać załączników

Przejdź do:  
Technologię dostarcza phpBB® Forum Software © phpBB Limited
Polski pakiet językowy dostarcza phpBB.pl